
■ 概述
710E系列高性能蝶阀(简称高性能蝶阀)阀板与密封圈采用独特的偏结构,具有结构紧凑、切断性能好、使用寿命长等特点,兼备调节和切断两种功能。广泛使用于化工、电力、轻纺、食品、医药、造纸等工业部门及市政工程、水厂等管道对自来水、污水、油类液体或空气、煤气、天然气、水蒸汽的介质进行截止或调节流量控制。
		
	
本系列产品公称压力等级0.6、1.0、1.6、4.0MPa;适用流体温度范围-60~450℃:金属密封型密封等级为Ⅳ级,软密封型为Ⅵ级,达零泄漏;流量特性为近似等百分比。
■ 特点
		·阀体采用整体铸造技术,结构紧凑,体积小、重量轻。
·阀板双偏心安装,关闭时,阀板向外扩张.达到最佳周边密封状态;打开时,阀板与密封圈迅速脱离,有效防止密封圈磨损;
·密封圈设计新颖、简明、免维修:
·密封圈形式有软密封和金属密封两种可选择,以满足不同工况要求;
·由于采用偏心结构,大大减小了操作扭矩;
·流阻小,额定流量系数大,约为同口径单座阀的3倍;
·自清洗能力强,使用寿命长;
·阀采用无法兰结构,工艺管道采用对夹式安装;
·三大类标准执行机构(气动活塞式、气动薄膜式和电动)可互换。
	
		
	
		
	
■ 主要零件材料
		阀  体:ZG230-450、ZG1Cr18Ni9Ti
阀  板:ZG1Cr18Ni9Ti
阀  轴:3Cr13、ZG1Cr18Ni9Ti
压  圈:ZG230-450、1Cr18Ni9Ti
密封圈:增强聚四氟乙烯、1Cr18Ni9Ti、17-4PH
填  料:聚四氟乙烯、柔性石墨
导向套:QA19-4、0Cr18Ni9、复合材料
支  架:ZG230-450
	
气动活塞式执行机构采用双活塞齿轮条机构,具有结构小、输出大、动作准确、单作用与双作用互换性强等优点。
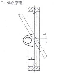
■ 基本结构及密封圈形式
| 
					 
						  | 
				
					 
						  | 
			
| 
					 
						  | 
				
					 偏心蝶阀设计有二处偏心;阀板的旋转轴偏离阀板密封的截面中心(a);旋转轴偏离管道中心(b)。 开启时,阀板密封面上各点同时脱离密封圈;阀板转动与密封之间无挤压现象。提高了密封圈的寿命。使密封面保持-可自动调整的最佳效果。采用橡胶和增强聚强四氟乙烯密封圈,泄漏等级为Ⅵ级,达到零泄漏。弹性金属不锈钢密封圈,可用于高温及其它较苛刻的场合。  | 
			
■ 主要性能指标
表一
| 
					 序号  | 
				
					 项目  | 
				
					 气动蝶阀  | 
				
					 电动蝶阀  | 
			||
| 
					 配气动薄膜式执行器  | 
				
					 配气动活塞式执行器  | 
			||||
| 
					 1  | 
				
					 基本误差<(1%)  | 
				
					 ±2.0  | 
				
					 ±2.5  | 
				
					 ±2.5  | 
			|
| 
					 2  | 
				
					 回差<(1%)  | 
				
					 2.0  | 
				
					 2.5  | 
				
					 2.0  | 
			|
| 
					 3  | 
				
					 死区(1%)  | 
				
					 1.0  | 
				
					 2.0  | 
				
					 3.0  | 
			|
| 
					 4  | 
				
					 始终点偏差<(1%)  | 
				
					 始点  | 
				
					 ±2.0  | 
				
					 ±2.0  | 
				
					 ±1.5  | 
			
| 
					 终点  | 
			|||||
| 
					 5  | 
				
					 额定转角偏差<(1%)  | 
				
					 ±2.5(两位式为±6)  | 
				
					 ±0.5  | 
			||
| 
					 6  | 
				
					 额定流量系数偏差<(1%)  | 
				
					 ±10  | 
			|||
注:本产品性能指标贯彻GB/T-4213
■ 规格与技术参数
表二
| 
					 公称通径DN(mm)  | 
				
					 50  | 
				
					 65  | 
				
					 80  | 
				
					 100  | 
				
					 125  | 
				
					 150  | 
				
					 200  | 
				
					 250  | 
				
					 300  | 
				
					 350  | 
				
					 400  | 
				
					 450  | 
				
					 500  | 
				
					 600  | 
				
					 700  | 
				
					 800  | 
				
					 900  | 
				
					 1000  | 
				
					 1200  | 
			||
| 
					 额定流量系数Kv  | 
				
					 100  | 
				
					 150  | 
				
					 200  | 
				
					 405  | 
				
					 620  | 
				
					 1150  | 
				
					 2030  | 
				
					 3150  | 
				
					 4550  | 
				
					 6200  | 
				
					 8100  | 
				
					 10260  | 
				
					 13500  | 
				
					 19800  | 
				
					 27000  | 
				
					 35700  | 
				
					 44600  | 
				
					 55080  | 
				
					 81000  | 
			||
| 
					 公称压力PN(MPa)  | 
				
					 0.6 1.0 1.6 4.0 (DN50~400)  | 
			||||||||||||||||||||
| 
					 流量特性  | 
				
					 近似等百分比  | 
			||||||||||||||||||||
| 
					 额定转角(°)  | 
				
					 80  | 
			||||||||||||||||||||
| 
					 气动薄膜式  | 
				
					 详见表5~8  | 
			||||||||||||||||||||
| 
					 
						配  | 
				
					 
						气  | 
				
					 
						单作用型号  | 
			|||||||||||||||||||
| 
					 
						电  | 
				
					 代号  | 
			||||||||||||||||||||
| 
					 
						转矩  | 
			|||||||||||||||||||||
| 
					 气源压力(MPa)  | 
				
					 0.25~0.4(气动薄膜式)、0.4~0.6(气动活塞式)  | 
			||||||||||||||||||||
| 
					 电源(电动)  | 
				
					 220V.AC或380V.AC  | 
			||||||||||||||||||||
| 
					 
						气动薄膜式弹簧  | 
				
					 40~200、80~240  | 
			||||||||||||||||||||
| 
					 输入信号  | 
				
					 4~20mA、0~10mA、1~5V.DC或以上信号分程控制  | 
			||||||||||||||||||||
■ 整机工作温度范围·阀座泄漏量
阀体材质为铸钢(表3)
| 
					 阀体  | 
				|||||
| 
					 阀板  | 
				
					 
						1Cr18Ni9Ti  | 
				
					 
						1Cr18Ni9Ti  | 
				
					 
						1Cr18Ni9Ti  | 
				
					 
						1Cr18Ni9Ti  | 
				
					 
						1Cr18Ni9Ti   | 
			
| 
					 密封圈  | 
				
					 橡胶  | 
				
					 增强四氟乙烯  | 
				
					 不锈钢  | 
				
					 不锈钢  | 
				
					 不锈钢  | 
			
| 
					 压圈  | 
				
					 1Cr18Ni9Ti  | 
				
					 1Cr18Ni9Ti  | 
				
					 1Cr18Ni9Ti  | 
				
					 1Cr18Ni9Ti  | 
				
					 1Cr18Ni9Ti  | 
			
| 
					 填料  | 
				
					 聚四氟乙烯  | 
				
					 聚四氟乙烯  | 
				
					 聚四氟乙烯  | 
				
					 柔性石墨  | 
				
					 柔性石墨  | 
			
| 
					 垫片  | 
				
					 ×B450/F4  | 
				
					 ×B450/F4  | 
				
					 ×B450/F4  | 
				
					 石墨缠绕垫片  | 
				
					 石墨缠绕垫片  | 
			
| 
					 泄漏等级  | 
				
					 Ⅵ级  | 
				
					 Ⅵ级  | 
				
					 Ⅳ级  | 
				
					 Ⅳ级  | 
				
					 Ⅴ级  | 
			
| 
					 阀座泄漏量(l/h)  | 
				
					 微气泡级①  | 
				
					 微气泡级①  | 
				
					 10-4×Kv  | 
				
					 10-4×Kv  | 
				
					 1.8×10-7△P×D  | 
			
| 
					 工作温度(℃)  | 
				
					 -20~160  | 
				
					 -20~200  | 
				
					 -20~200  | 
				
					 -20~250  | 
				
					 -20~450  | 
			
		注:
1) ①气泡数量详见GB/T4213;
2) △P为阀前后压差以Kpa为单位;
3) D为阀座直径,以mm为单位。
	
阀体材质为不锈钢(表4)
| 
					 阀体  | 
				
					 ZG1Cr18Ni9Ti  | 
			||||
| 
					 阀板  | 
				
					 
						1Cr18Ni9Ti  | 
				
					 
						1Cr18Ni9Ti  | 
				
					 
						1Cr18Ni9Ti  | 
				
					 
						1Cr18Ni9Ti  | 
				
					 
						1Cr18Ni9Ti  | 
			
| 
					 密封圈  | 
				
					 橡胶  | 
				
					 增强四氟乙烯  | 
				
					 不锈钢  | 
				
					 不锈钢  | 
				
					 不锈钢  | 
			
| 
					 压圈  | 
				
					 1Cr18Ni9Ti  | 
				
					 1Cr18Ni9Ti  | 
				
					 1Cr18Ni9Ti  | 
				
					 1Cr18Ni9Ti  | 
				
					 1Cr18Ni9Ti  | 
			
| 
					 填料  | 
				
					 聚四氟乙烯  | 
				
					 聚四氟乙烯  | 
				
					 聚四氟乙烯  | 
				
					 柔性石墨  | 
				
					 柔性石墨  | 
			
| 
					 垫片  | 
				
					 ×B450/F4  | 
				
					 ×B450/F4  | 
				
					 ×B450/F4  | 
				
					 石墨缠绕垫片  | 
				
					 石墨缠绕垫片  | 
			
| 
					 泄漏等级  | 
				
					 Ⅵ级  | 
				
					 Ⅵ级  | 
				
					 Ⅳ级  | 
				
					 Ⅳ级  | 
				
					 Ⅴ级  | 
			
| 
					 阀座泄漏量(l/h)  | 
				
					 微气泡级①  | 
				
					 微气泡级①  | 
				
					 10-4×Kv  | 
				
					 10-4×Kv  | 
				
					 1.8×10-7△P×D  | 
			
| 
					 工作温度(℃)  | 
				
					 -20~160  | 
				
					 -20~200  | 
				
					 -40~200  | 
				
					 -40~250  | 
				
					 -60~450  | 
			
		注:
1) ①气泡数量详见GB/T4213;
2) △P为阀前后压差以Kpa为单位;
3) D为阀座直径,以mm为单位。
	
■ 流量特性曲线
		
	
■ 允许压差
表5配用气动薄膜式执行机构允许压差(单位:MPa)
| 
					 
						DN  | 
				
					 执行机构  | 
				
					 ZMA-5  | 
				
					 ZMA-6  | 
				
					 ZMA-7  | 
				
					 ZMA-8  | 
			||||
| 
					 弹簧范围(MPa)  | 
				
					 40~200  | 
				
					 80~240  | 
				
					 40~200  | 
				
					 80~240  | 
				
					 40~200  | 
				
					 80~240  | 
				
					 40~200  | 
				
					 80~240  | 
			|
| 
					 50  | 
				
					 软密封  | 
				
					 1.6  | 
				
					 3.6  | 
				||||||
| 
					 金属密封  | 
				
					 0.2  | 
				
					 1.0  | 
				
					 1.6  | 
				||||||
| 
					 65  | 
				
					 软密封  | 
				
					 0.6  | 
				
					 2.5  | 
				||||||
| 
					 金属密封  | 
				
					 0.6  | 
				
					 1.0  | 
				
					 2.5  | 
				||||||
| 
					 80  | 
				
					 软密封  | 
				
					 0.2  | 
				
					 2.2  | 
				||||||
| 
					 金属密封  | 
				
					 0.2  | 
				
					 0.6  | 
				
					 2.0  | 
				||||||
| 
					 100  | 
				
					 软密封  | 
				
					 1.6  | 
				
					 2.5  | 
				||||||
| 
					 金属密封  | 
				
					 0.2  | 
				
					 1.6  | 
				|||||||
| 
					 125  | 
				
					 软密封  | 
				
					 0.4  | 
				
					 0.8  | 
				
					 2.2  | 
				|||||
| 
					 金属密封  | 
				
					 0.4  | 
				
					 0.8  | 
				
					 2.5  | 
				||||||
| 
					 150  | 
				
					 软密封  | 
				
					 0.5  | 
				
					 1.6  | 
				
					 2.5  | 
				|||||
| 
					 金属密封  | 
				
					 0.3  | 
				
					 0.6  | 
				
					 2.0  | 
				||||||
| 
					 200  | 
				
					 软密封  | 
				
					 0.6  | 
				
					 1.0  | 
				
					 2.5  | 
				|||||
| 
					 金属密封  | 
				
					 0.1  | 
				
					 0.6  | 
				
					 1.0  | 
				
					 2.5  | 
			|||||
| 
					 250  | 
				
					 软密封  | 
				
					 0.4  | 
				
					 1.0  | 
				
					 2.0  | 
				|||||
| 
					 金属密封  | 
				
					 0.3  | 
				
					 0.6  | 
				
					 2.0  | 
			||||||
| 
					 300  | 
				
					 软密封  | 
				
					 0.6  | 
				
					 1.1  | 
				
					 2.5  | 
			|||||
| 
					 金属密封  | 
				
					 0.3  | 
				
					 1.0  | 
			|||||||
| 
					 350  | 
				
					 软密封  | 
				
					 0.3  | 
				
					 0.6  | 
				
					 1.8  | 
			|||||
| 
					 金属密封  | 
				
					 0.6  | 
			||||||||
| 
					 400  | 
				
					 软密封  | 
				
					 0.4  | 
				
					 1.4  | 
			||||||
| 
					 金属密封  | 
				
					 0.4  | 
			||||||||
| 
					 450  | 
				
					 软密封  | 
				
					 0.2  | 
				
					 0.8  | 
			||||||
| 
					 金属密封  | 
				
					 0.2  | 
			||||||||
| 
					 500  | 
				
					 软密封  | 
				
					 0.5  | 
			|||||||
| 
					 金属密封  | 
				
					 0.1  | 
			||||||||
		注:
1)气源压力按0.5MPa计算;
2)表中允许压差为本公司标准配置值,可根据用户工况选择更大扭矩的执行机构。
	
表6配用气动活塞式执行机构(单作用)允许压差(单位:MPa)
| 
					 DN (mm)  | 
				
					 执行机构  | 
				
					 GTX  | 
				
					 79B  | 
				
					 HG  | 
			|||||||||||
| 
					 83  | 
				
					 92  | 
				
					 110  | 
				
					 118  | 
				
					 127  | 
				
					 160  | 
				
					 210  | 
				
					 254  | 
				
					 300  | 
				
					 575  | 
				
					 740  | 
				
					 1150  | 
				
					 490  | 
				
					 600  | 
			||
| 
					 扭矩(Nm)  | 
				
					 30  | 
				
					 36  | 
				
					 46  | 
				
					 63  | 
				
					 100  | 
				
					 200  | 
				
					 420  | 
				
					 700  | 
				
					 1288  | 
				
					 1988  | 
				
					 2560  | 
				
					 4000  | 
				
					 7600  | 
				
					 15000  | 
			|
| 
					 50  | 
				
					 软密封  | 
				
					 1.0  | 
				
					 2.0  | 
				||||||||||||
| 
					 金属密封  | 
				
					 0.5  | 
				
					 1.0  | 
				
					 1.8  | 
				||||||||||||
| 
					 65  | 
				
					 软密封  | 
				
					 0.6  | 
				
					 1.1  | 
				
					 2.5  | 
				|||||||||||
| 
					 金属密封  | 
				
					 0.2  | 
				
					 0.6  | 
				
					 1.0  | 
				
					 1.6  | 
				|||||||||||
| 
					 80  | 
				
					 软密封  | 
				
					 0.4  | 
				
					 1.0  | 
				
					 2.0  | 
				|||||||||||
| 
					 金属密封  | 
				
					 0.4  | 
				
					 0.8  | 
				
					 1.2  | 
				||||||||||||
| 
					 100  | 
				
					 软密封  | 
				
					 0.6  | 
				
					 1.0  | 
				
					 2.0  | 
				|||||||||||
| 
					 金属密封  | 
				
					 0.3  | 
				
					 0.8  | 
				
					 1.6  | 
				||||||||||||
| 
					 125  | 
				
					 软密封  | 
				
					 0.4  | 
				
					 0.9  | 
				
					 2.0  | 
				|||||||||||
| 
					 金属密封  | 
				
					 0.4  | 
				
					 1.0  | 
				
					 1.6  | 
				||||||||||||
| 
					 150  | 
				
					 软密封  | 
				
					 0.4  | 
				
					 1.0  | 
				
					 2.2  | 
				|||||||||||
| 
					 金属密封  | 
				
					 0.3  | 
				
					 1.0  | 
				
					 2.0  | 
				||||||||||||
| 
					 200  | 
				
					 软密封  | 
				
					 0.2  | 
				
					 0.6  | 
				
					 1.6  | 
				|||||||||||
| 
					 金属密封  | 
				
					 0.2  | 
				
					 0.8  | 
				
					 1.6  | 
				||||||||||||
| 
					 250  | 
				
					 软密封  | 
				
					 0.2  | 
				
					 1.2  | 
				
					 2.5  | 
				|||||||||||
| 
					 金属密封  | 
				
					 0.3  | 
				
					 0.6  | 
				
					 2.0  | 
				||||||||||||
| 
					 300  | 
				
					 软密封  | 
				
					 0.6  | 
				
					 1.4  | 
				
					 2.5  | 
				|||||||||||
| 
					 金属密封  | 
				
					 0.2  | 
				
					 0.6  | 
				
					 1.6  | 
				||||||||||||
| 
					 350  | 
				
					 软密封  | 
				
					 0.6  | 
				
					 1.1  | 
				
					 2.2  | 
				|||||||||||
| 
					 金属密封  | 
				
					 0.2  | 
				
					 0.6  | 
				
					 1.2  | 
				||||||||||||
| 
					 400  | 
				
					 软密封  | 
				
					 0.2  | 
				
					 0.8  | 
				
					 2.0  | 
				|||||||||||
| 
					 金属密封  | 
				
					 0.1  | 
				
					 0.6  | 
				
					 1.0  | 
				
					 1.6  | 
				|||||||||||
| 
					 450  | 
				
					 软密封  | 
				
					 0.6  | 
				
					 1.2  | 
				
					 2.0  | 
				|||||||||||
| 
					 金属密封  | 
				
					 0.2  | 
				
					 0.6  | 
				
					 1.6  | 
				||||||||||||
| 
					 500  | 
				
					 软密封  | 
				
					 0.2  | 
				
					 0.6  | 
				
					 1.6  | 
				
					 2.0  | 
				||||||||||
| 
					 金属密封  | 
				
					 0.3  | 
				
					 0.6  | 
				
					 1.2  | 
				
					 2.0  | 
				|||||||||||
| 
					 600  | 
				
					 软密封  | 
				
					 0.4  | 
				
					 0.1  | 
				
					 1.3  | 
				
					 1.8  | 
				||||||||||
| 
					 金属密封  | 
				
					 0.3  | 
				
					 0.6  | 
				
					 1.6  | 
				||||||||||||
| 
					 700  | 
				
					 软密封  | 
				, | 
						 0.6  | 
					
						 1.2  | 
					
						 2.1  | 
					||||||||||
| 
								 金属密封  | 
							
									 0.2  | 
								
									 0.8  | 
								
									 2.0  | 
									||||||||||||
| 
											 800  | 
										
											 软密封  | 
										
											 0.3  | 
										
											 0.8  | 
										
											 1.8  | 
										|||||||||||
| 
											 金属密封  | 
										
											 0.4  | 
										
											 1.2  | 
									|||||||||||||
| 
											 900  | 
										
											 软密封  | 
										
											 0.5  | 
										
											 1.2  | 
										
											 2.2  | 
									|||||||||||
| 
											 金属密封  | 
										
											 0.2  | 
										
											 0.8  | 
									|||||||||||||
| 
											 1000  | 
										
											 软密封  | 
										
											 0.8  | 
										
											 1.9  | 
									||||||||||||
| 
											 金属密封  | 
										
											 0.1  | 
										
											 0.6  | 
									|||||||||||||
| 
											 1200  | 
										
											 软密封  | 
										
											 0.8  | 
									|||||||||||||
| 
											 金属密封  | 
										
											 0.2  | 
									||||||||||||||
表7配用气动活塞式执行机构(双作用)允许压差(单位:MPa)
| 
															 DN (mm)  | 
														
															 执行机构  | 
														
															 GTX  | 
														
															 79B  | 
														
															 HG  | 
													|||||||||||||
| 
															 63  | 
														
															 75  | 
														
															 83  | 
														
															 92  | 
														
															 110  | 
														
															 118  | 
														
															 127  | 
														
															 160  | 
														
															 210  | 
														
															 254  | 
														
															 255  | 
														
															 300  | 
														
															 575  | 
														
															 740  | 
														
															 1150  | 
														
															 600  | 
													||
| 
															 扭矩(Nm)  | 
														
															 29  | 
														
															 50  | 
														
															 70  | 
														
															 97  | 
														
															 141  | 
														
															 210  | 
														
															 275  | 
														
															 550  | 
														
															 1185  | 
														
															 2175  | 
														
															 2715  | 
														
															 3909  | 
														
															 1988  | 
														
															 2560  | 
														
															 11362  | 
														
															 2000  | 
													|
| 
															 50  | 
														
															 软密封  | 
														
															 1.0  | 
														
															 2.5  | 
														||||||||||||||
| 
															 金属密封  | 
														
															 0.6  | 
														
															 1.6  | 
														|||||||||||||||
| 
															 65  | 
														
															 软密封  | 
														
															 0.9  | 
														
															 2.2  | 
														||||||||||||||
| 
															 金属密封  | 
														
															 0.2  | 
														
															 0.6  | 
														
															 1.0  | 
														
															 2.0  | 
														|||||||||||||
| 
															 80  | 
														
															 软密封  | 
														
															 0.8  | 
														
															 2.0  | 
														||||||||||||||
| 
															 金属密封  | 
														
															 0.2  | 
														
															 0.6  | 
														
															 1.6  | 
														||||||||||||||
| 
															 100  | 
														
															 软密封  | 
														
															 0.2  | 
														
															 1.0  | 
														
															 2.2  | 
														|||||||||||||
| 
															 金属密封  | 
														
															 0.2  | 
														
															 0.8  | 
														
															 1.6  | 
														||||||||||||||
| 
															 125  | 
														
															 软密封  | 
														
															 0.2  | 
														
															 1.0  | 
														
															 2.0  | 
														|||||||||||||
| 
															 金属密封  | 
														
															 0.2  | 
														
															 0.6  | 
														
															 1.6  | 
														||||||||||||||
| 
															 150  | 
														
															 软密封  | 
														
															 0.2  | 
														
															 1.0  | 
														
															 1.5  | 
														
															 2.2  | 
														||||||||||||
| 
															 金属密封  | 
														
															 0.4  | 
														
															 1.0  | 
														
															 2.5  | 
														||||||||||||||
| 
															 200  | 
														
															 软密封  | 
														
															 0.2  | 
														
															 0.8  | 
														
															 1.6  | 
														
															 2.5  | 
														||||||||||||
| 
															 金属密封  | 
														
															 0.2  | 
														
															 0.6  | 
														
															 2.0  | 
														||||||||||||||
| 
															 250  | 
														
															 软密封  | 
														
															 0.6  | 
														
															 1.6  | 
														
															 2.5  | 
														|||||||||||||
| 
															 金属密封  | 
														
															 0.2  | 
														
															 1.0  | 
														
															 2.5  | 
														||||||||||||||
| 
															 300  | 
														
															 软密封  | 
														
															 0.2  | 
														
															 1.2  | 
														
															 2.2  | 
														|||||||||||||
| 
															 金属密封  | 
														
															 0.1  | 
														
															 0.6  | 
														
															 2.2  | 
														||||||||||||||
| 
															 350  | 
														
															 软密封  | 
														
															 0.6  | 
														
															 2.0  | 
														||||||||||||||
| 
															 金属密封  | 
														
															 0.4  | 
														
															 0.8  | 
														
															 2.0  | 
														||||||||||||||
| 
															 400  | 
														
															 软密封  | 
														
															 0.4  | 
														
															 1.6  | 
														
															 2.5  | 
														|||||||||||||
| 
															 金属密封  | 
														
															 0.2  | 
														
															 0.6  | 
														
															 1.6  | 
														||||||||||||||
| 
															 450  | 
														
															 软密封  | 
														
															 0.3  | 
														
															 1.0  | 
														
															 1.8  | 
														
															 2.2  | 
														||||||||||||
| 
															 金属密封  | 
														
															 0.4  | 
														
															 0.8  | 
														
															 1.6  | 
														||||||||||||||
| 
															 500  | 
														
															 软密封  | 
														
															 0.8  | 
														
															 1.7  | 
														
															 2.0  | 
														|||||||||||||
| 
															 金属密封  | 
														
															 0.3  | 
														
															 0.7  | 
														
															 1.4  | 
														
															 2.0  | 
														|||||||||||||
| 
															 600  | 
														
															 软密封  | 
														
															 1.1  | 
														
															 1.4  | 
														
															 1.8  | 
														|||||||||||||
| 
															 金属密封  | 
														
															 0.2  | 
														
															 0.8  | 
														
															 1.2  | 
														
															 2.0  | 
														|||||||||||||
| 
															 700  | 
														
															 软密封  | 
														
															 0.8  | 
														
															 1.4  | 
														
															 2.0  | 
														|||||||||||||
| 
															 金属密封  | 
														
															 0.2  | 
														
															 0.6  | 
														
															 1.0  | 
														
															 2.0  | 
														|||||||||||||
| 
															 800  | 
														
															 软密封  | 
														
															 0.2  | 
														
															 1.8  | 
														
															 1.2  | 
														
															 1.8  | 
														||||||||||||
| 
															 金属密封  | 
														
															 0.2  | 
														
															 0.6  | 
														
															 1.0  | 
														
															 2.0  | 
													|||||||||||||
| 
															 900  | 
														
															 软密封  | 
														
															 0.2  | 
														
															 1.8  | 
														
															 1.1  | 
														
															 1.8  | 
														||||||||||||
| 
															 金属密封  | 
														
															 0.2  | 
														
															 0.6  | 
														
															 1.4  | 
													||||||||||||||
| 
															 1000  | 
														
															 软密封  | 
														
															 0.2  | 
														
															 0.8  | 
														
															 1.5  | 
														|||||||||||||
| 
															 金属密封  | 
														
															 0.4  | 
														
															 1.0  | 
													|||||||||||||||
| 
															 1200  | 
														
															 软密封  | 
														
															 0.6  | 
														
															 1.8  | 
													||||||||||||||
| 
															 金属密封  | 
														
															 0.4  | 
													||||||||||||||||
表8配用电动式执行机构允许压差(单位:MPa)
| 
															 DN(mm)  | 
														
															 执行机构  | 
														
															 ZA-01  | 
														
															 ZA-02  | 
														
															 ZA-03  | 
														
															 ZA-04  | 
														
															 ZA-05  | 
														
															 ZA-06  | 
														
															 ZA-07  | 
														
															 ZA-08  | 
														
															 ZA-09  | 
														
															 ZA-10  | 
														
															 ZA-11  | 
													
| 
															 扭矩(Nm)  | 
														
															 50  | 
														
															 100  | 
														
															 200  | 
														
															 400  | 
														
															 600  | 
														
															 1000  | 
														
															 2000  | 
														
															 4000  | 
														
															 6000  | 
														
															 10000  | 
														
															 16000  | 
													|
| 
															 50  | 
														
															 软密封  | 
														
															 2.5  | 
														||||||||||
| 
															 金属密封  | 
														
															 1.0  | 
														|||||||||||
| 
															 65  | 
														
															 软密封  | 
														
															 2.0  | 
														||||||||||
| 
															 金属密封  | 
														
															 0.8  | 
														|||||||||||
| 
															 80  | 
														
															 软密封  | 
														
															 2.0  | 
														||||||||||
| 
															 金属密封  | 
														
															 0.6  | 
														
															 1.2  | 
														||||||||||
| 
															 100  | 
														
															 软密封  | 
														
															 1.0  | 
														
															 2.5  | 
														|||||||||
| 
															 金属密封  | 
														
															 0.6  | 
														
															 2.0  | 
														||||||||||
| 
															 125  | 
														
															 软密封  | 
														
															 0.6  | 
														
															 2.0  | 
														
															 4.0  | 
														||||||||
| 
															 金属密封  | 
														
															 0.3  | 
														
															 1.4  | 
														
															 2.5  | 
														|||||||||
| 
															 150  | 
														
															 软密封  | 
														
															 1.0  | 
														
															 2.0  | 
														
															 4.0  | 
														||||||||
| 
															 金属密封  | 
														
															 0.6  | 
														
															 2.0  | 
														||||||||||
| 
															 200  | 
														
															 软密封  | 
														
															 0.2  | 
														
															 0.8  | 
														
															 2.0  | 
														||||||||
| 
															 金属密封  | 
														
															 0.4  | 
														
															 0.8  | 
														
															 2.2  | 
														|||||||||
| 
															 250  | 
														
															 软密封  | 
														
															 0.4  | 
														
															 1.2  | 
														
															 2.0  | 
														||||||||
| 
															 金属密封  | 
														
															 0.2  | 
														
															 0.6  | 
														
															 0.8  | 
														, TD> | ||||||||
| 
																		 300  | 
																	
																		 软密封  | 
																	
																		 0.2k  | 
																	
																		 0.7  | 
																	
																		 1.2  | 
																	
																		 2.0  | 
																	|||||||
| 
																	 金属密封  | 
																		
																			 0.3  | 
																		
																			 0.8  | 
																		
																			 1.6  | 
																		|||||||||
| 
																					 350  | 
																				
																					 软密封  | 
																				
																					 0.4  | 
																				
																					 1.0  | 
																				
																					 1.8  | 
																				||||||||
| 
																					 金属密封  | 
																				
																					 0.4  | 
																				
																					 1.0  | 
																				
																					 2.5  | 
																				|||||||||
| 
																					 400  | 
																				
																					 软密封  | 
																				
																					 0.4  | 
																				
																					 1.4  | 
																				
																					 2.2  | 
																				||||||||
| 
																					 金属密封  | 
																				
																					 0.2  | 
																				
																					 0.8  | 
																				
																					 2.0  | 
																				|||||||||
| 
																					 450  | 
																				
																					 软密封  | 
																				
																					 0.3  | 
																				
																					 0.8  | 
																				
																					 1.6  | 
																				
																					 2.5  | 
																				|||||||
| 
																					 金属密封  | 
																				
																					 0.6  | 
																				
																					 1.5  | 
																				
																					 2.5  | 
																				|||||||||
| 
																					 500  | 
																				
																					 软密封  | 
																				
																					 0.6  | 
																				
																					 1.4  | 
																				
																					 2.2  | 
																				||||||||
| 
																					 金属密封  | 
																				
																					 0.4  | 
																				
																					 1.2  | 
																				
																					 2.0  | 
																				|||||||||
| 
																					 600  | 
																				
																					 软密封  | 
																				
																					 1.0  | 
																				
																					 1.8  | 
																				
																					 3.0  | 
																				||||||||
| 
																					 金属密封  | 
																				
																					 0.2  | 
																				
																					 0.6  | 
																				
																					 1.6  | 
																				|||||||||
| 
																					 700  | 
																				
																					 软密封  | 
																				
																					 0.6  | 
																				
																					 1.4  | 
																				
																					 2.2  | 
																				||||||||
| 
																					 金属密封  | 
																				
																					 0.2  | 
																				
																					 0.6  | 
																				
																					 1.6  | 
																				
																					 2.2  | 
																			||||||||
| 
																					 800  | 
																				
																					 软密封  | 
																				
																					 0.6  | 
																				
																					 1.3  | 
																				
																					 2.2  | 
																				||||||||
| 
																					 金属密封  | 
																				
																					 0.2  | 
																				
																					 0.6  | 
																				
																					 1.5  | 
																			|||||||||
| 
																					 900  | 
																				
																					 软密封  | 
																				
																					 0.5  | 
																				
																					 1.0  | 
																				
																					 1.8  | 
																				
																					 2.5  | 
																			|||||||
| 
																					 金属密封  | 
																				
																					 0.3  | 
																				
																					 1.0  | 
																			||||||||||
| 
																					 1000  | 
																				
																					 软密封  | 
																				
																					 0.6  | 
																				
																					 1.3  | 
																				
																					 1.8  | 
																			||||||||
| 
																					 金属密封  | 
																				
																					 0.1  | 
																				
																					 0.8  | 
																			||||||||||
| 
																					 1200  | 
																				
																					 软密封  | 
																				
																					 0.5  | 
																				
																					 1.2  | 
																			|||||||||
| 
																					 金属密封  | 
																				
																					 0.2  | 
																			
■ 外形尺寸及重量
a、连接尺寸及标准
																						连接方式:对夹式
法兰标准: PN6钢制法兰按 GB/9119.6-88、
                      PN10钢制法兰按 GB/9119.7-88、
                      PN10钢制法兰按 GB/9119.8-88、
                      PN10钢制法兰按 GB/9119.19-88、
﹡ 连接方式、阀体法兰端面距可按用户指定的标准制造。
      如:ANSI、DIN、JIS等标准。
																					
b、气动薄膜式蝶阀外形尺寸及重量
																						
																					
单位:%
| 
																									 
																										公称通径  | 
																								
																									 B  | 
																								
																									 L  | 
																								
																									 L1  | 
																								
																									 H1  | 
																								
																									 H2  | 
																								
																									 H  | 
																								
																									 A  | 
																								
																									 
																										重量  | 
																								
																									 气源接口  | 
																							|
| 
																									 软密封  | 
																								
																									 硬密封  | 
																							|||||||||
| 
																									 50  | 
																								
																									 43  | 
																								
																									 43  | 
																								
																									 280  | 
																								
																									 75  | 
																								
																									 70  | 
																								
																									 160  | 
																								
																									 480  | 
																								
																									 308  | 
																								
																									 12  | 
																								
																									 M16×1.5  | 
																							
| 
																									 65  | 
																								
																									 49  | 
																								
																									 49  | 
																								
																									 290  | 
																								
																									 90  | 
																								
																									 80  | 
																								
																									 160  | 
																								
																									 490  | 
																								
																									 308  | 
																								
																									 14  | 
																							|
| 
																									 80  | 
																								
																									 56  | 
																								
																									 64  | 
																								
																									 312  | 
																								
																									 100  | 
																								
																									 90  | 
																								
																									 160  | 
																								
																									 500  | 
																								
																									 308  | 
																								
																									 15  | 
																							|
| 
																									 100  | 
																								
																									 60  | 
																								
																									 64  | 
																								
																									 340  | 
																								
																									 120  | 
																								
																									 100  | 
																								
																									 160  | 
																								
																									 530  | 
																								
																									 308  | 
																								
																									 16  | 
																							|
| 
																									 125  | 
																								
																									 64  | 
																								
																									 70  | 
																								
																									 368  | 
																								
																									 135  | 
																								
																									 115  | 
																								
																									 230  | 
																								
																									 574  | 
																								
																									 394  | 
																								
																									 17  | 
																							|
| 
																									 150  | 
																								
																									 70  | 
																								
																									 76  | 
																								
																									 405  | 
																								
																									 150  | 
																								
																									 115  | 
																								
																									 230  | 
																								
																									 595  | 
																								
																									 394  | 
																								
																									 19  | 
																							|
| 
																									 200  | 
																								
																									 76  | 
																								
																									 89  | 
																								
																									 465  | 
																								
																									 190  | 
																								
																									 145  | 
																								
																									 300  | 
																								
																									 780  | 
																								
																									 498  | 
																								
																									 37  | 
																							|
| 
																									 250  | 
																								
																									 82  | 
																								
																									 114  | 
																								
																									 540  | 
																								
																									 215  | 
																								
																									 145  | 
																								
																									 300  | 
																								
																									 800  | 
																								
																									 498  | 
																								
																									 56  | 
																							|
| 
																									 300  | 
																								
																									 90  | 
																								
																									 114  | 
																								
																									 600  | 
																								
																									 240  | 
																								
																									 180  | 
																								
																									 400  | 
																								
																									 990  | 
																								
																									 618  | 
																								
																									 59  | 
																							|
| 
																									 350  | 
																								
																									 96  | 
																								
																									 127  | 
																								
																									 640  | 
																								
																									 270  | 
																								
																									 180  | 
																								
																									 400  | 
																								
																									 1025  | 
																								
																									 618  | 
																								
																									 73  | 
																							|
| 
																									 400  | 
																								
																									 102  | 
																								
																									 140  | 
																								
																									 700  | 
																								
																									 295  | 
																								
																									 220  | 
																								
																									 400  | 
																								
																									 1150  | 
																								
																									 618  | 
																								
																									 96  | 
																							|
| 
																									 450  | 
																								
																									 114  | 
																								
																									 152  | 
																								
																									 780  | 
																								
																									 330  | 
																								
																									 260  | 
																								
																									 400  | 
																								
																									 1200  | 
																								
																									 618  | 
																								
																									 135  | 
																							|
| 
																									 500  | 
																								
																									 127  | 
																								
																									 152  | 
																								
																									 840  | 
																								
																									 375  | 
																								
																									 300  | 
																								
																									 400  | 
																								
																									 1300  | 
																								
																									 618  | 
																								
																									 156  | 
																							|
c、气动活塞式蝶阀外形尺寸及重量(单作用)
																						
																					
单位:mm
| 
																									 
																										公称通径  | 
																								
																									 H  | 
																								
																									 H1  | 
																								
																									 H2  | 
																								
																									 H3  | 
																								
																									 B  | 
																								
																									 L0  | 
																								
																									 
																										重量  | 
																								
																									 气源接口  | 
																							|
| 
																									 软密封  | 
																								
																									 硬密封  | 
																							||||||||
| 
																									 50  | 
																								
																									 380  | 
																								
																									 75  | 
																								
																									 174  | 
																								
																									 137  | 
																								
																									 43  | 
																								
																									 43  | 
																								
																									 203  | 
																								
																									 15  | 
																								
																									 G1/8″  | 
																							
| 
																									 65  | 
																								
																									 430  | 
																								
																									 90  | 
																								
																									 200  | 
																								
																									 160  | 
																								
																									 49  | 
																								
																									 49  | 
																								
																									 216  | 
																								
																									 16  | 
																								
																									 G1/4″  | 
																							
| 
																									 80  | 
																								
																									 455  | 
																								
																									 100  | 
																								
																									 220  | 
																								
																									 160  | 
																								
																									 56  | 
																								
																									 64  | 
																								
																									 216  | 
																								
																									 18  | 
																							|
| 
																									 100  | 
																								
																									 490  | 
																								
																									 120  | 
																								
																									 255  | 
																								
																									 160  | 
																								
																									 60  | 
																								
																									 64  | 
																								
																									 284  | 
																								
																									 20  | 
																							|
| 
																									 125  | 
																								
																									 558  | 
																								
																									 135  | 
																								
																									 295  | 
																								
																									 180  | 
																								
																									 64  | 
																								
																									 70  | 
																								
																									 290  | 
																								
																									 24  | 
																							|
| 
																									 150  | 
																								
																									 648  | 
																								
																									 150  | 
																								
																									 330  | 
																								
																									 228  | 
																								
																									 70  | 
																								
																									 76  | 
																								
																									 368  | 
																								
																									 33  | 
																							|
| 
																									 200  | 
																								
																									 716  | 
																								
																									 190  | 
																								
																									 385  | 
																								
																									 285  | 
																								
																									 76  | 
																								
																									 89  | 
																								
																									 450  | 
																								
																									 45  | 
																							|
| 
																									 250  | 
																								
																									 882  | 
																								
																									 215  | 
																								
																									 460  | 
																								
																									 332  | 
																								
																									 82  | 
																								
																									 114  | 
																								
																									 593  | 
																								
																									 72  | 
																							|
| 
																									 300  | 
																								
																									 906  | 
																								
																									 240  | 
																								
																									 505  | 
																								
																									 332  | 
																								
																									 90  | 
																								
																									 114  | 
																								
																									 662  | 
																								
																									 78  | 
																							|
| 
																									 350  | 
																								
																									 1086  | 
																								
																									 270  | 
																								
																									 570  | 
																								
																									 390  | 
																								
																									 96  | 
																								
																									 127  | 
																								
																									 683  | 
																								
																									 89  | 
																							|
| 
																									 400  | 
																								
																									 1156  | 
																								
																									 285  | 
																								
																									 610  | 
																								
																									 390  | 
																								
																									 102  | 
																								
																									 140  | 
																								
																									 683  | 
																								
																									 162  | 
																							|
| 
																									 450  | 
																								
																									 1400  | 
																								
																									 330  | 
																								
																									 690  | 
																								
																									 420  | 
																								
																									 114  | 
																								
																									 152  | 
																								
																									 1378  | 
																								
																									 173  | 
																								
																									 M16×1.5  | 
																							
| 
																									 500  | 
																								
																									 1500  | 
																								
																									 375  | 
																								
																									 770  | 
																								
																									 420  | 
																								
																									 127  | 
																								
																									 152  | 
																								
																									 1378  | 
																								
																									 185  | 
																							|
| 
																									 600  | 
																								
																									 1600  | 
																								
																									 450  | 
																								
																									 890  | 
																								
																									 440  | 
																								
																									 154  | 
																								
																									 178  | 
																								
																									 2500  | 
																								
																									 276  | 
																							|
| 
																									 700  | 
																								
																									 1702  | 
																								
																									 490  | 
																								
																									 1080  | 
																								
																									 440  | 
																								
																									 165  | 
																								
																									 229  | 
																								
																									 2500  | 
																								
																									 305  | 
																							|
| 
																									 800  | 
																								
																									 1900  | 
																								
																									 540  | 
																								
																									 1150  | 
																								
																									 560  | 
																								
																									 190  | 
																								
																									 241  | 
																								
																									 3200  | 
																								
																									 375  | 
																							|
| 
																									 900  | 
																								
																									 2000  | 
																								
																									 600  | 
																								
																									 1270  | 
																								
																									 560  | 
																								
																									 203  | 
																								
																									 241  | 
																								
																									 3200  | 
																								
																									 450  | 
																							|
| 
																									 1000  | 
																								
																									 2250  | 
																								
																									 660  | 
																								
																									 1350  | 
																								
																									 700  | 
																								
																									 216  | 
																								
																									 300  | 
																								
																									 3800  | 
																								
																									 1050  | 
																							|
| 
																									 1200  | 
																								
																									 2500  | 
																								
																									 780  | 
																								
																									 1600  | 
																								
																									 700  | 
																								
																									 254  | 
																								
																									 360  | 
																								
																									 3800  | 
																								
																									 1180  | 
																							|
d、气动活塞式蝶阀外形尺寸及重量(双作用)
																						
																					
单位:mm
| 
																									 
																										公称通径  | 
																								
																									 H  | 
																								
																									 H1  | 
																								
																									 H2  | 
																								
																									 H3  | 
																								
																									 B  | 
																								
																									 L0  | 
																								
																									 
																										重量  | 
																								
																									 气源接口  | 
																							|
| 
																									 软密封  | 
																								
																									 硬密封  | 
																							||||||||
| 
																									 50  | 
																								
																									 380  | 
																								
																									 75  | 
																								
																									 174  | 
																								
																									 137  | 
																								
																									 43  | 
																								
																									 43  | 
																								
																									 203  | 
																								
																									 15  | 
																								
																									 G1/8″  | 
																							
| 
																									 65  | 
																								
																									 430  | 
																								
																									 90  | 
																								
																									 200  | 
																								
																									 160  | 
																								
																									 49  | 
																								
																									 49  | 
																								
																									 216  | 
																								
																									 16  | 
																								
																									 G1/4″  | 
																							
| 
																									 80  | 
																								
																									 455  | 
																								
																									 100  | 
																								
																									 220  | 
																								
																									 160  | 
																								
																									 56  | 
																								
																									 64  | 
																								
																									 216  | 
																								
																									 18  | 
																							|
| 
																									 100  | 
																								
																									 490  | 
																								
																									 120  | 
																								
																									 255  | 
																								
																									 160  | 
																								
																									 60  | 
																								
																									 64  | 
																								
																									 284  | 
																								
																									 20  | 
																							|
| 
																									 125  | 
																								
																									 558  | 
																								
																									 135  | 
																								
																									 295  | 
																								
																									 180  | 
																								
																									 64  | 
																								
																									 70  | 
																								
																									 290  | 
																								
																									 24  | 
																							|
| 
																									 150  | 
																								
																									 648  | 
																								
																									 150  | 
																								
																									 330  | 
																								
																									 228  | 
																								
																									 70  | 
																								
																									 76  | 
																								
																									 368  | 
																								
																									 33  | 
																							|
| 
																									 200  | 
																								
																									 716  | 
																								
																									 190  | 
																								
																									 385  | 
																								
																									 285  | 
																								
																									 76  | 
																								
																									 89  | 
																								
																									 450  | 
																								
																									 45  | 
																							|
| 
																									 250  | 
																								
																									 882  | 
																								
																									 215  | 
																								
																									 460  | 
																								
																									 332  | 
																								
																									 82  | 
																								
																									 114  | 
																								
																									 593  | 
																								
																									 72  | 
																							|
| 
																									 300  | 
																								
																									 906  | 
																								
																									 240  | 
																								
																									 505  | 
																								
																									 332  | 
																								
																									 90  | 
																								
																									 114  | 
																								
																									 662  | 
																								
																									 78  | 
																							|
| 
																									 350  | 
																								
																									 1086  | 
																								
																									 270  | 
																								
																									 570  | 
																								
																									 390  | 
																								
																									 96  | 
																								
																									 127  | 
																								
																									 683  | 
																								
																									 89  | 
																							|
| 
																									 400  | 
																								
																									 1156  | 
																								
																									 285  | 
																								
																									 610  | 
																								
																									 390  | 
																								
																									 102  | 
																								
																									 140  | 
																								
																									 683  | 
																								
																									 162  | 
																							|
| 
																									 450  | 
																								
																									 1400  | 
																								
																									 330  | 
																								
																									 690  | 
																								
																									 420  | 
																								
																									 114  | 
																								
																									 152  | 
																								
																									 1378  | 
																								
																									 173  | 
																								
																									 M16×1.5  | 
																							
| 
																									 500  | 
																								
																									 1500  | 
																								
																									 375  | 
																								
																									 770  | 
																								
																									 420  | 
																								
																									 127  | 
																								
																									 152  | 
																								
																									 1378  | 
																								
																									 185  | 
																							|
| 
																									 600  | 
																								
																									 1600  | 
																								
																									 450  | 
																								
																									 890  | 
																								
																									 440  | 
																								
																									 154  | 
																								
																									 178  | 
																								
																									 2500  | 
																								
																									 276  | 
																							|
| 
																									 700  | 
																								
																									 1702  | 
																								
																									 490  | 
																								
																									 1080  | 
																								
																									 440  | 
																								
																									 165  | 
																								
																									 229  | 
																								
																									 2500  | 
																								
																									 305  | 
																							|
| 
																									 800  | 
																								
																									 1900  | 
																								
																									 540  | 
																								
																									 1150  | 
																								
																									 560  | 
																								
																									 190  | 
																								
																									 241  | 
																								
																									 3200  | 
																								
																									 375  | 
																							|
| 
																									 900  | 
																								
																									 2000  | 
																								
																									 600  | 
																								
																									 1270  | 
																								
																									 560  | 
																								
																									 203  | 
																								
																									 241  | 
																								
																									 3200  | 
																								
																									 450  | 
																							|
| 
																									 1000  | 
																								
																									 2250  | 
																								
																									 660  | 
																								
																									 1350  | 
																								
																									 700  | 
																								
																									 216  | 
																								
																									 300  | 
																								
																									 3800  | 
																								
																									 1050  | 
																							|
| 
																									 1200  | 
																								
																									 2500  | 
																								
																									 780  | 
																								
																									 1600  | 
																								
																									 700  | 
																								
																									 254  | 
																								
																									 360  | 
																								
																									 3800  | 
																								
																									 1180  | 
																							|
e、电动蝶阀外形尺寸及重量
																						
																					
单位:mm
| 
																									 公称通径DN  | 
																								
																									 H  | 
																								
																									 H1  | 
																								
																									 H2  | 
																								
																									 B  | 
																								
																									 L0  | 
																								
																									 重量(kg)  | 
																							|
| 
																									 软密封  | 
																								
																									 硬密封  | 
																							||||||
| 
																									 50  | 
																								
																									 370  | 
																								
																									 75  | 
																								
																									 174  | 
																								
																									 43  | 
																								
																									 43  | 
																								
																									 158  | 
																								
																									 17  | 
																							
| 
																									 65  | 
																								
																									 420  | 
																								
																									 90  | 
																								
																									 200  | 
																								
																									 49  | 
																								
																									 49  | 
																								
																									 158  | 
																								
																									 18  | 
																							
| 
																									 80  | 
																								
																									 460  | 
																								
																									 100  | 
																								
																									 220  | 
																								
																									 56  | 
																								
																									 64  | 
																								
																									 158  | 
																								
																									 19  | 
																							
| 
																									 100  | 
																								
																									 490  | 
																								
																									 120  | 
																								
																									 255  | 
																								
																									 60  | 
																								
																									 64  | 
																								
																									 207  | 
																								
																									 21  | 
																							
| 
																									 125  | 
																								
																									 560  | 
																								
																									 135  | 
																								
																									 295  | 
																								
																									 64  | 
																								
																									 70  | 
																								
																									 207  | 
																								
																									 23  | 
																							
| 
																									 150  | 
																								
																									 660  | 
																								
																									 150  | 
																								
																									 330  | 
																								
																									 70  | 
																								
																									 76  | 
																								
																									 258  | 
																								
																									 31  | 
																							
| 
																									 200  | 
																								
																									 790  | 
																								
																									 190  | 
																								
																									 385  | 
																								
																									 76  | 
																								
																									 89  | 
																								
																									 256  | 
																								
																									 38  | 
																							
| 
																									 250  | 
																								
																									 980  | 
																								
																									 215  | 
																								
																									 460  | 
																								
																									 82  | 
																								
																									 114  | 
																								
																									 380  | 
																								
																									 57  | 
																							
| 
																									 300  | 
																								
																									 1060  | 
																								
																									 240  | 
																								
																									 505  | 
																								
																									 90  | 
																								
																									 114  | 
																								
																									 380  | 
																								
																									 65  | 
																							
| 
																									 350  | 
																								
																									 1150  | 
																								
																									 270  | 
																								
																									 570  | 
																								
																									 96  | 
																								
																									 127  | 
																								
																									 380  | 
																								
																									 76  | 
																							
| 
																									 400  | 
																								
																									 1230  | 
																								
																									 285  | 
																								
																									 610  | 
																								
																									 102  | 
																								
																									 140  | 
																								
																									 680  | 
																								
																									 265  | 
																							
| 
																									 450  | 
																								
																									 1350  | 
																								
																									 330  | 
																								
																									 690  | 
																								
																									 114  | 
																								
																									 152  | 
																								
																									 680  | 
																								
																									 305  | 
																							
| 
																									 500  | 
																								
																									 1500  | 
																								
																									 375  | 
																								
																									 770  | 
																								
																									 127  | 
																								
																									 152  | 
																								
																									 680  | 
																								
																									 350  | 
																							
| 
																									 600  | 
																								
																									 1650  | 
																								
																									 450  | 
																								
																									 890  | 
																								
																									 154  | 
																								
																									 178  | 
																								
																									 850  | 
																								
																									 425  | 
																							
| 
																									 700  | 
																								
																									 1800  | 
																								
																									 490  | 
																								
																									 1080  | 
																								
																									 165  | 
																								
																									 229  | 
																								
																									 850  | 
																								
																									 450  | 
																							
| 
																									 800  | 
																								
																									 1950  | 
																								
																									 540  | 
																								
																									 1150  | 
																								
																									 190  | 
																								
																									 241  | 
																								
																									 850  | 
																								
																									 480  | 
																							
| 
																									 900  | 
																								
																									 2100  | 
																								
																									 600  | 
																								
																									 1270  | 
																								
																									 203  | 
																								
																									 241  | 
																								
																									 920  | 
																								
																									 540  | 
																							
| 
																									 1000  | 
																								
																									 2300  | 
																								
																									 660  | 
																								
																									 1350  | 
																								
																									 216  | 
																								
																									 300  | 
																								
																									 920  | 
																								
																									 1330  | 
																							
| 
																									 1200  | 
																								
																									 2600  | 
																								
																									 780  | 
																								
																									 1600  | 
																								
																									 254  | 
																								
																									 360  | 
																								
																									 920  | 
																								
																									 1460  |